博彩平台推荐
您访问的链接即将离开"云浮市应急管理局"网站 是否继续?
—— 云浮市应急管理局
—— 云浮市应急管理局
搜 索
首页
信息公开
专题专栏
政务服务
当前位置:
首页
>
云浮市应急管理局
>
信息公开
>
信用信息双公示
>
行政处罚信息公示
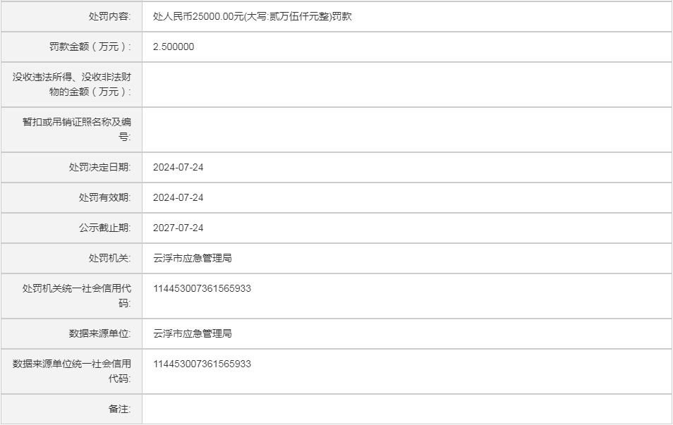
(云)应急罚〔2024〕28号广东阳辉明电气设备有限公司行政处罚案
发布时间:2024-07-31 14:47:38 文档来源:云浮市应急管理局 查看次数:
-
【字体:
小
中
大
】
未经授权,严禁转载!
关闭窗口
打印此页
分享到:
博彩平台推荐相关的文章
2025-01-26
(云)应急罚〔2025〕2号广东奔业新能源有限公司行政处罚案
2025-01-26
(云)应急罚〔2025〕1号罗定市钰源矿业有限公司行政处罚案
2024-08-27
(云)应急罚〔2024〕33号中电建(云浮)绿色矿业有限公司行政处罚案
2024-08-27
(云)应急罚〔2024〕32号广东发恩德矿业有限公司行政处罚案
2024-08-23
(云)应急罚〔2024〕31号新兴县供销社综合贸易公司行政处罚案
友情链接
安全生产举报系统
---- 友情链接 ----
中国应急管理报
党的群众路线网
新兴县应急管理局
罗定市应急管理局
云城区应急管理局
云安区应急管理局
郁南县应急管理局
中国安全生产网
广东省应急管理厅
中华人民共和国应急管理部
版权所有(c)
博彩平台推荐
,未经许可 不得擅自复制、镜象
网站地图
主办单位:
博彩平台推荐办公室
云浮市应急管理局
制作和维护
单位地址:云浮市区河滨西路65号
邮政编码:527300 监督投诉电话:12345,12350 监督投诉邮箱:yfyjgl@163.com
ICP备案:
粤ICP备09015554号-1
网站标识码:
4453000003
公安备案:
粤公网安备 44530202000010号